A tech4gamers.com által felfedezett új szabadalomban az AMD aggodalmát fejezi ki a DDR5 szabvány sávszélességi korlátaival kapcsolatban, különösen most, hogy egyre nagyobb igény mutatkozik az AI számítási teljesítményére. Míg a Nvidia és az olyan memóriachip-gyártók, mint a Samsung, SK Hynix és a Micron a SOCAMM2-re összpontosítanak szabványra, az AMD egy olyan alternatívát javasol, amely könnyebben beépíthető a meglévő DDR5-ös rendszerekbe, legyenek azok fogyasztói vagy adatközponti megoldások.
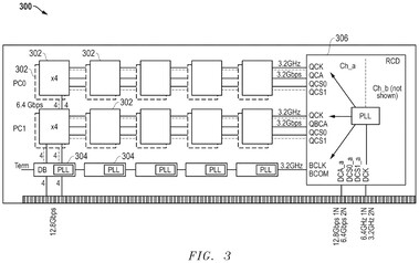
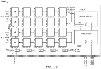
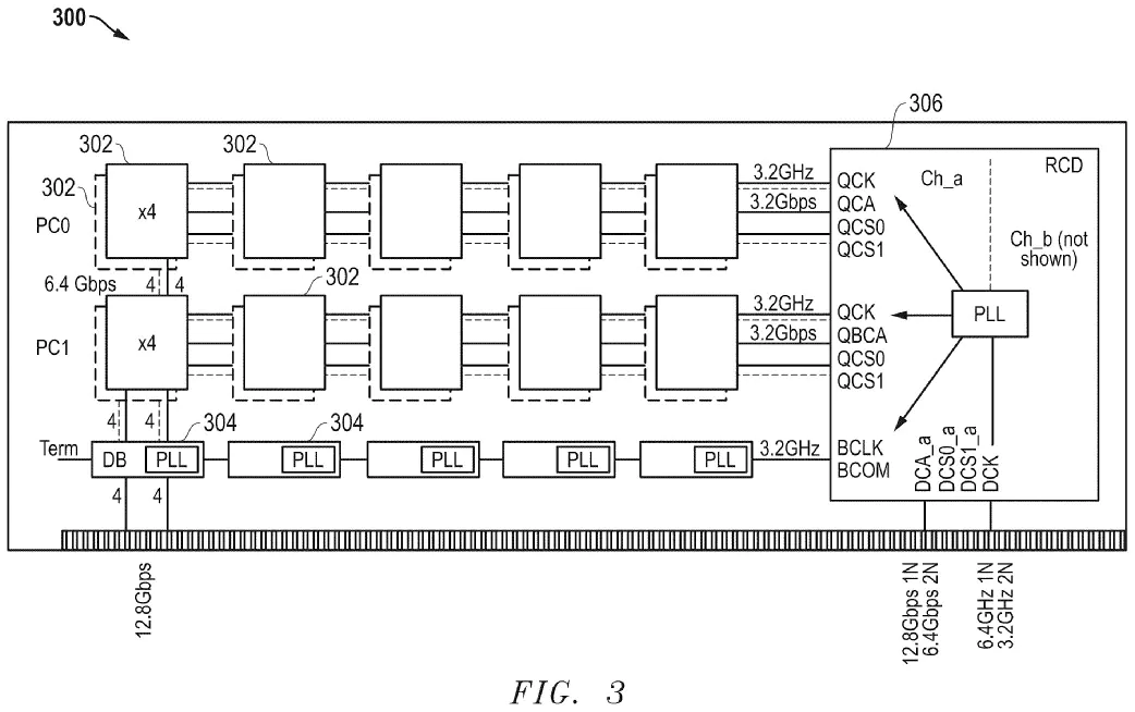
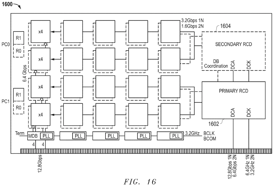
Az AMD továbbfejlesztett memóriaszabványa "nagy sávszélességű memóriamodul-architektúrát" foglal magában, amely lényegében megduplázza a jelenlegi DDR5 maximális, 6,4 Gbps-os sávszélességét. Itt fontos megjegyezni, hogy a 12,8 Gbps sávszélesség a DRAM chipek terveinek módosítása nélkül érhető el. Ehelyett a DRAM-chipeket egy nagy sávszélességű, kettős soros memóriamodulra (HB-DIMM) helyezik. A modulok egy sor további hardverkomponenst is integrálnak, például speciális pufferchipeket, amelyek kétszer olyan gyors adatátvitelt tesznek lehetővé, mint amit a DDR5 szabvány lehetővé tenne. A modul emellett olyan regiszterórajel-meghajtókat (RCD) használ, amelyek hatékonyabban irányítják a jeleket, párhuzamosítják a memória-hozzáférést, és így áttörik a DDR5-szabvány átviteli korlátait.
A szabadalmi bejelentés megjegyzi, hogy a HB-DIMM-ek gyors váltást tesznek lehetővé az álcsatornás és a négyrangú módok között, így a megoldás HPC-k, mesterséges intelligencia felhasználási esetek, valamint játékrendszerek számára is életképes. A DDR5 kompatibilitást a rugalmas órajelezési módok, valamint a jelintegritást és az alacsony késleltetést fenntartó, nem interleaved adatátviteli formátum biztosítja.
Úgy tűnik, hogy a HB-DIMM nagyon hasonlít a Micron meglévő MRDIMM (Multiplexed Rank Dual Inline Memory Modules) szabványához. Az MRDIMM azonban csak az Intel Xeon Granite Rapids platformjához érhető el, így az AMD valószínűleg valami hasonlót szeretne a jövőbeli EPYC processzorokhoz. Phoronix nemrég közzétett egy DDR5-6400 vs MRDIMM-8800 tesztet, és a Micron saját szabványa valóban gyorsabbnak tűnik, de biztosan nem kétszer olyan gyors, mint a DDR5.
A SOCAMM2 jelenleg több iparági támogatást élvez, így az AMD HB-DIMM-je nehezen kaphat elfogadást, legalábbis ami a HPC és a szerverszektort illeti.
Forrás(ok)
via Techradar / Tech4Gamers / OC3D.net
» A Top 10 multimédiás noteszgép - tesztek alapján
» A Top 10 játékos noteszgép
» A Top 10 belépő szintű üzleti noteszgép
» A Top 10 üzleti noteszgép
» A Top 10 notebook munkaállomása
» A Top 10 okostelefon - tesztek alapján
» A Top 10 táblagép
» A Top 10 Windows tabletje
» A Top 10 subnotebook - tesztek alapján
» A Top 10 300 euró alatti okostelefonja
» A Top 10 120 euró alatti okostelefonja
» A Top 10 phabletje (>5.5-inch)
» A Top 10 noteszgép 500 EUR (~160.000 HUF) alatt
» A Top 10 "pehelysúlyú" gaming notebookja








