A Samsung Display, a Samsung Electronics leányvállalata gyakran állít ki koncepciókat többek között a Consumer Electronics Show (CES) és a Mobile World Congress (MWC) kiállításokon. A kijelzőgyártó például az MWC 2025-öt különböző innovációk bemutatására használta fel, többek között a Flex Gaming és a Rugalmas aktatáska.
Jellemzően ezek a koncepciók pontosan ilyenek maradnak, és soha nem érik el a tömeggyártást. Úgy tűnt azonban, hogy a Samsung Display arra is felhasználta az MWC 2025-öt, hogy bemutassa az összehajtható paneleket, amelyek a Samsung első fogyasztói háromrétegű és a utódját a Galaxy Z Fold6 (jelenleg 1 099 dollár - megújítva az Amazonon).
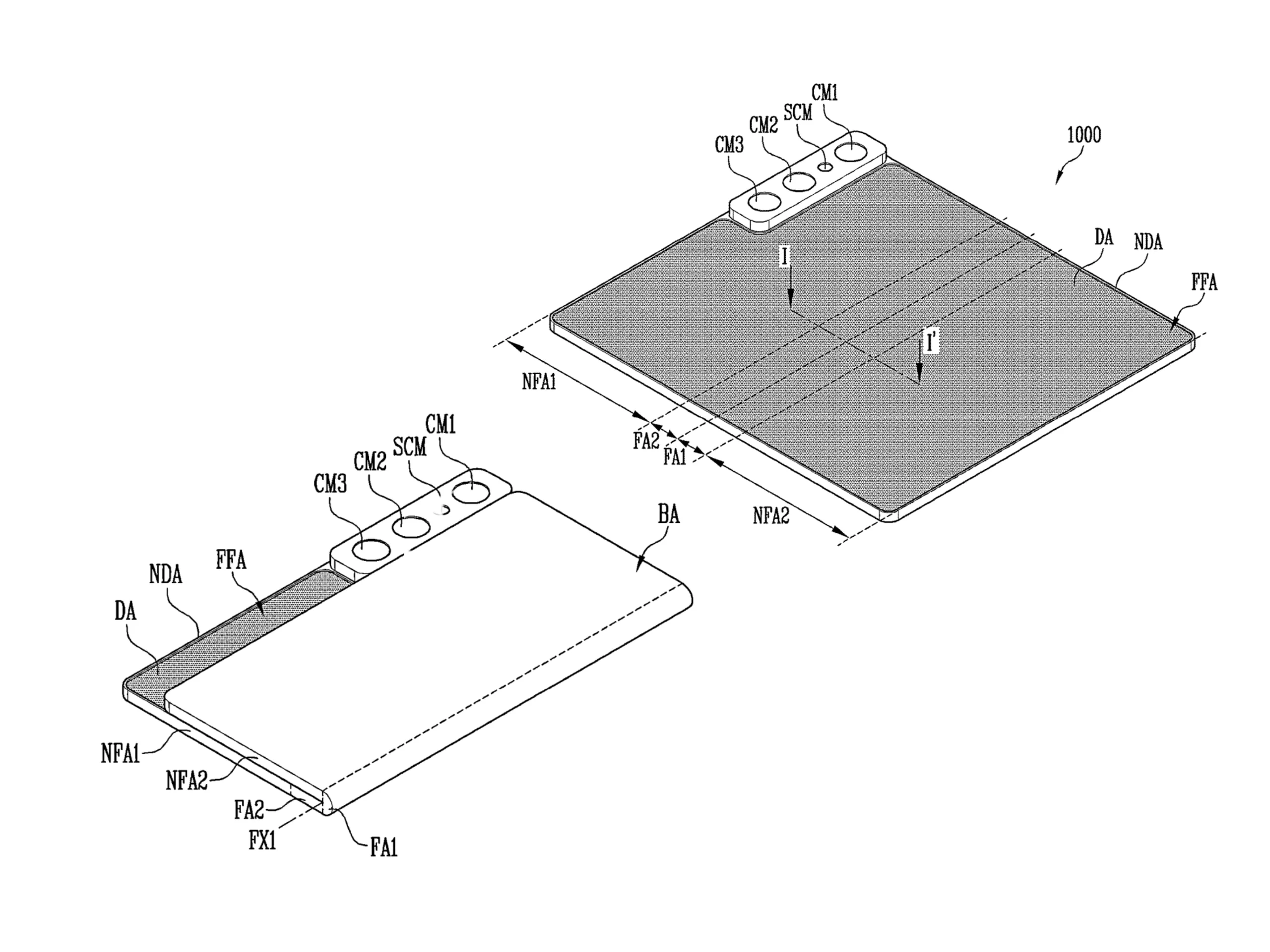
Most a vállalat megkapta a formatervezési minta jóváhagyását a Egyesült Államok Szabadalmi és Védjegyhivatalától (USPTO) egy teljesen új, összehajtható formájú készülékre. Amint az alábbi szabadalmi rajzok mutatják, ez a koncepció befelé és kifelé is össze tudja hajtani a kijelzőjét, nem pedig csak egy irányba, mint a meglévő fogyasztói összecsukható készülékek. A koncepció tulajdonképpen egyesíti a Galaxy Z Fold és a Z Fold elveit Huawei Mate Xs vagy a Mate Xs 2 egy készülékben.
A szabadalmaztatott kialakítás eltér a Samsung Display által bemutatott Flex In N Out-tól a CES 2023 során több mint két évvel ezelőtt. Emlékeztetőül, a Flex In N Out úgy nézett ki, mint egy hagyományos összecsukható, amely befelé és kifelé is összecsukható volt. Ezzel szemben a Samsung Display új koncepciója szabadon hagyja a kijelző egy részét az elképzelt hármas kamerasorozat alatt. Bár ennek a dizájnnak a megvalósulására kicsi az esély, a Samsung Display egy jövőbeni kiállításon talán mégis láthatunk majd egy valós példát, ahogyan azt idén korábban tette a Flex Gaming.
» A Top 10 multimédiás noteszgép - tesztek alapján
» A Top 10 játékos noteszgép
» A Top 10 belépő szintű üzleti noteszgép
» A Top 10 üzleti noteszgép
» A Top 10 notebook munkaállomása
» A Top 10 okostelefon - tesztek alapján
» A Top 10 táblagép
» A Top 10 Windows tabletje
» A Top 10 subnotebook - tesztek alapján
» A Top 10 300 euró alatti okostelefonja
» A Top 10 120 euró alatti okostelefonja
» A Top 10 phabletje (>5.5-inch)
» A Top 10 noteszgép 500 EUR (~160.000 HUF) alatt
» A Top 10 "pehelysúlyú" gaming notebookja


















